Технология изготовления заготовок для ковки без зазоров: принципы и методы
В статье рассматриваются современные методы изготовления металлических заготовок для ковки, обеспечивающие минимизацию дефектов в виде неровностей и зазоров на кромках. В основу технологии положена оптимизация процесса резки металла с использованием специализированного оборудования.
Для разделения металлических прутков на заготовки применяются механические ножницы, характеризующиеся высокой производительностью и экономичностью. Однако данный метод имеет недостаток в виде износа режущих кромок, что приводит к образованию дефектов на поверхности заготовок.
Дефекты на кромках заготовок обусловлены наличием зазоров между лезвиями ножниц, вызывающих деформацию металла в зоне резки. Данная зона включает три основных участка:
-
Зона пластического деформирования: металл подвергается сжатию и уплотнению.
-
Зона упругой деформации: металл изменяет свою форму под воздействием режущих элементов.
-
Переходный участок: зона перехода от деформированного металла к недеформированному.
Исследования в области материаловедения показали, что устранение зазоров между лезвиями способствует повышению качества реза. Для достижения данной цели применяются следующие методы:
-
Метод скручивания: зона резки подвергается скручиванию, что приводит к равномерному сжатию металла в трех направлениях, обеспечивая высокое давление и предотвращая разрушение материала.
-
Метод дифференцированного зажима: один из режущих элементов создает большее усилие сжатия по сравнению с другим, что позволяет минимизировать образование неровностей на кромках.
Корректная настройка оборудования позволяет добиться получения заготовок с гладкими и ровными краями, готовыми к дальнейшей обработке методом ковки.
Особое внимание уделяется применению специализированных инструментов, оснащенных системами компьютерного управления, обеспечивающих точное позиционирование режущих элементов и исключение образования зазоров.
Практическое применение технологии
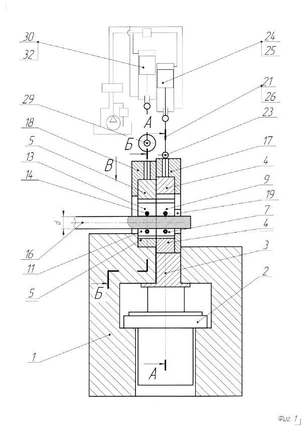
Процесс изготовления заготовок включает подачу длинного металлического прутка в автоматизированный станок, оснащенный двумя насосами. Первый насос осуществляет подъем режущих элементов, а второй обеспечивает их перемещение в горизонтальной плоскости. В процессе резки специальный упор отводит отрезанные заготовки в сторону.
В результате применения описанной технологии получается высококачественный металлический полуфабрикат с ровными и гладкими кромками, готовый к использованию в производственном цикле ковки.
Результаты внедрения технологии
-
Разработана и внедрена методика резки металла, позволяющая получать заготовки с минимальным количеством дефектов на кромках.
-
Создан специализированный инструмент, обеспечивающий выполнение реза без образования зазоров.
Применение данной технологии способствует повышению качества ковочных заготовок, оптимизации производственных процессов и снижению себестоимости продукции.

